Sony Ericsson zaprezentował mini-wyświetlacz OLED o przekątnej 1,3″, który współpracować będzie ze smartfonami z systemem Google Android w wersji 2.x przy pomocy łączności Bluetooth.
Plotki zostały potwierdzone oficjalnym oświadczeniem firmy RIM: tablet BlackBerry PlayBook oraz system operacyjny BlackBerry Tablet OS zostały zaprezentowane wczoraj wieczorem przez Mike’a Lazaridisa.
Początkowo miał pojawić się w czerwcu, jednak zadebiutuje dopiero w 2011 roku. Mowa o hybrydowej maszynie Lenovo IdeaPad U1, która może pracować zarówno jako notebook, jak i osobny tablet.
Firma Marvell przygotowuje nowy procesor Armada 628, który ma być wyposażony w trzy rdzenie. Układ przeznaczony będzie dla smartfonów i tabletów.
Dziś wielki finał Pucharu Czytelników. To właśnie tego pięknego, jesiennego czwartku zdecydujecie który telefon zostanie królem wszystkich smartfonów! Do dzieła!
W Sieci pojawił się filmik, prezentujący niemal wszystkie zalety nowego smartfona HTC – Desire HD. Zobacz, co potrafi urządzenie z systemem Android 2.2 i interfejsem HTC Sense.
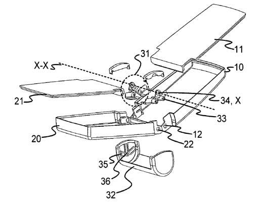
Według złożonego niedawno wniosku o przyznanie patentu, Nokia wkrótce ma zamiar zbudować modularny telefon z klapką, który ma zapewnić trwałość od strony sprzętowej.
HTC głęboko wierzy w sukces Windows Phone 7, tak przynajmniej wynika z przecieków pochodzących z firmy. Wygląda na to, że w przyszłym miesiącu czeka nas prawdziwa uczta. Będziemy się zachwycać, czy narzekać?
Po wielu morderczych walkach, pora na pierwsze ostateczne rozstrzygnięcia. Dziś zadecydujecie, który telefon zajmie trzecie miejsce: przed wami Motorola Milestone i Samsung Galaxy S! Do boju!
Nie, nie chodzi mi o to, że komórki z aplikacjami będą sprzedawać się gorzej. Ale trwa obecnie taki wysyp systemów operacyjnych na urządzenia mobilne, że termin “smartfon” trzeba będzie zdefiniować na nowo.
Popularność najnowszych narzędzi pozwalających na proste przeprowadzenie jailbreaka błyskawicznie przyciąga uwagę cyberprzestępców. Sam iPhone jest bezpieczny, ucierpieć jednak mogą nasze komputery PC.
W każdej wojnie dzieją się rzeczy tragiczne, smutne i odrażające. Tak też stało się i tym razem! Do bratobójczej walki stanie dwójka dzieci jednego ojca: Samsung Wave i Galaxy S!