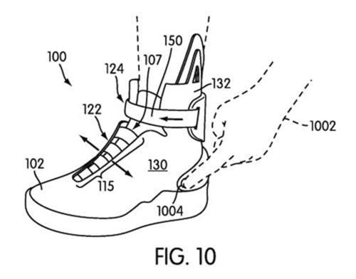
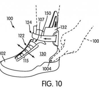
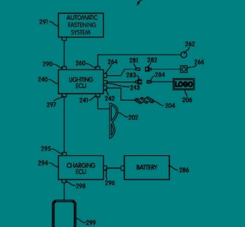
To nie pomyłka. Znany projektant tej marki, Tinker Hatfield i jego zespół z Nike Innovative Kitchen zgłosili do amerykańskiego urzędu patentowego projekt butów z autozapięciem, które do złudzenia przypominają te z Powrotu do Przyszłości II. Akcja filmu, jak każdy pamięta, toczyła się w 2015 roku – czy to możliwe, że za 4 lata będzie można kupić Nike’i z auto-rzepami? Czy da się na nich jeździć na antygrawitacyjnej deskorolce? Co dokładnie widzi się po przekroczeniu 88 mil na godzinę?
Oczywiście patent na ten mechanizm może być tylko zabiegiem defensywnym ze strony Nike i zgłoszono go tylko po to, żeby inna firma nie wyprodukowała takich butów. Ale sami przyznacie – szkoda by było.



