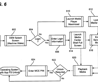
Jeżeli wniosek patentowy jest powiązany z Windows 8, to system ten będzie mógł uruchamiać i wyłączać swoje moduły w zależności od potrzeb. Przykładowo, jeżeli chcemy włączyć komputer tylko po to, by obejrzeć film na DVD, nie potrzebujemy bibliotek i interfejsu do baz danych, czcionek, i tak dalej. Potrzebujemy interfejsu do odtwarzania, kodeków, rdzennej warstwy systemu do komunikacji oprogramowania ze sprzętem i tyle. W Windows 8 wystarczy przycisk pilota, by uruchomić błyskawicznie komputer w trybie (przykładowo) Media Center i uruchomić film. Bez czekania na załadowanie reszty bibliotek, bez logowania się i programów z autostartu. “Klik” i jest.
Brzmi póki co dziwacznie, bowiem ciężko wymyślić jak owe tryby byłyby definiowane. Według niepotwierdzonych informacji, Microsoft nam to już wkrótce wyjaśni. Na konferencji prasowej.


