Z patentu złożonego przez ten koncern 18 marca w amerykańskim urzędzie patentowym wynika, że firma chce zastrzec prawa do wykorzystywania pewnej określonej techniki fotograficznej. Techniki, która wykorzystywana jest zwykle w fotografii studyjnej i polega na prostym i skutecznym sposobie osiągnięcia czystego, absolutnie białego tła. Nawet wtedy, gdy w rzeczywistości tło, przed którym znajduje się fotografowany obiekt, jest bardzo odległe od bieli – w skrajnym wypadku może być nawet czarne lub ciemnoszare.
Jak to możliwe? To bardzo proste. Wystarczy, że przed tłem, ale już ZA fotografowanym obiektem umieścimy dodatkowe źródła światła (najczęściej błyskowego), skierowane bezpośrednio na tło. Jeśli będą to źródła światła wystarczająco mocne, pozwolą one na “wypalenie” tła do całkowitej, bezcieniowej bieli, znacznie skuteczniej i lepiej, niż w przypadku zastosowania jakiegoś fizycznego tła np. z białego kartonu.
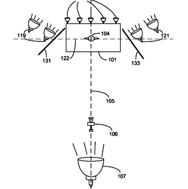
Ta technika jest “stara jak świat” i stosowana właściwie przez wszystkich fotografów studyjnych. Dlatego zrozumiałe jest coraz większe zaniepokojenie środowiska fotograficznego na wieść o złożonym przez Amazon wniosku patentowym. Rysują się przy tym dwie skrajne grupy opinii. Według jednej z nich Amazon rzeczywiście przeprowadza obecnie typowo “trollowy” zamach na coś, co już dosłownie od wieków należy do ogólnodostępnej, bezpłatnej wiedzy fotograficznej. Według drugiej w przypadku tego patentu chodzi o bardzo szczególny przypadek zastosowania tej techniki, ściśle według przepisu Amazonu. Oznaczałoby to chociażby zastosowanie aż dziewięciu lamp oświetlających tło za obiektem/modelem i w takim przypadku byłoby dość łatwe do “ominięcia” przez fotografa, który chce być absolutnie zgodny z prawem.
Jak jest naprawdę? Trudno w tym momencie stwierdzić, bo wszystko zależeć będzie od pierwszych, precedensowych spraw sądowych, jakie Amazon może ewentualnie wytoczyć Bogu ducha winnym fotografom. Miejmy jednak nadzieję, że znajdzie się w tej sprawie ktoś, kto zachowa choćby szczyptę tak zwanego zdrowego rozsądku…


