Wszystko zależy jednak od sposobu wykorzystywania tych urządzeń – to, co jest jeszcze możliwe do zaakceptowania w latającej zabawce czy nawet wyspecjalizowanej kamerze służącej do filmowania wyjątkowych ujęć, staje się kulą u nogi w przypadku, gdy chcemy wykorzystywać drony do patrolowania terenu albo rozwożenia przesyłek czy pizzy. Wszędzie tam, gdzie dron powinien pracować jak najdłużej, a najlepiej pozostawać w stałej gotowości do pracy, przyda się system opatentowany przez kilkoma dniami przez firmę Boeing.
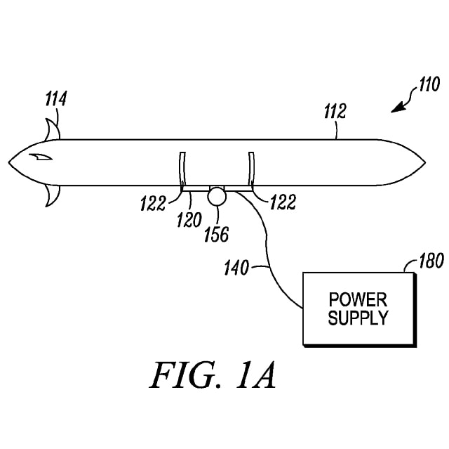
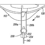
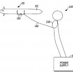
Opis patentu, którego twórcami są James Childress i John Viniotis, przedstawia zaskakująco prosty pomysł: drony wyposażone w dodatkowe wypuszczane kable do pobierania energii ze specjalnie do tego celu przystosowanych baz. Kiedy urządzenie wykrywa niski poziom naładowania akumulatorów, podlatuje nad odpowiednią bazę, wypuszcza kabel i “tankuje” na nowo energię elektryczną. Wszystko odbywa się szybko i automatycznie, zaś drony niemal cały czas pozostają na służbie.
Co ciekawe, patent zakłada, że do roli stacji energetycznych mogą być przystosowane nie tylko odpowiednie budynki, ale także na przykład statki, pojazdy kołowe albo umieszczone wysoko balony przymocowane na stałe do ziemi. Można więc sobie z łatwością wyobrazić czołg czy pojazd opancerzony, którzy na stałe współpracuje z kilkoma dronami patrolującymi okoliczny teren i podlatującymi do niego co pewien czas po nowy zastrzyk energii.
A jeśli lubicie język angielski z nieco mniej angielskim akcentem, w przystępny sposób pomysł Boeinga wyjaśniony jest na tym filmie:







