
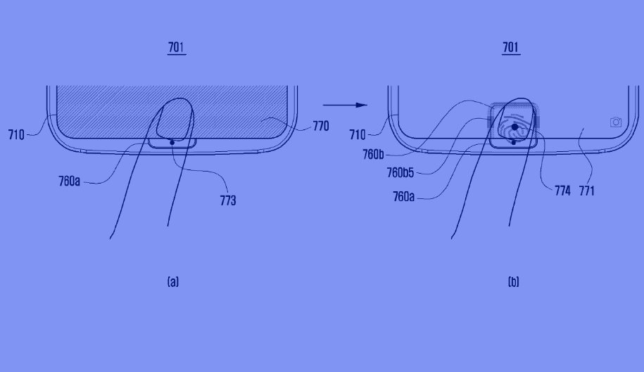
Użytkownik będzie mógł także przypisać komendy dotykowe w ustawieniach telefonu. W zależności od siły nacisku i sposobu przesuwania po dolnej krawędzi ekranu, przycisk będzie uruchamiał różne funkcje. Między innymi wspomniany czytnik linii papilarnych, ale także na przykład aplikację aparatu. Przycisk będzie mógł mieć także różne kształty. Zarówno prostokątny, jak i owalny.

Rozwiązanie pozwoli zwiększyć stosunek powierzchni wyświetlacza do przedniego panelu. W Galaxy S9 (tu znajdziecie ciekawe promocje na ten model) ten stosunek wynosi 84 proc. Nie do końca wiemy, jaki typ czytnika linii papilarnych zastosuje Samsung w swoich przyszłych modelach, ale patent wymienia zarówno możliwość zamontowania optycznego, pojemnościowego oraz ultradźwiękowego skanera linii papilarnych. | CHIP
