Apple opatentował bardzo dziwne rozwiązanie
Urzędy patentowe pełne są mniej lub bardziej szalonych pomysłów na elektronikę. Nie brakuje tam zadziwiających projektów futurystycznych smartfonów, które mają niewielkie realne szanse, by kiedykolwiek trafić na rynek, ale mimo tego stanowią interesujący wgląd w pomysły, na które wpadają firmy. Osobiście bardzo lubię je przeglądać, zwłaszcza te, które patentuje Apple. Gigant z Cupertino znany jest bowiem ze swojej zachowawczości co do sprzętowych rewolucji i mimo iż nadal nie ma w swojej ofercie składanego smartfona, zdążył już opatentować kilka tego typu rozwiązań.
Czytaj też: Nowe iPady zbliżają się wielkimi krokami. Kiedy Apple je zaprezentuje?
Tym razem Urząd ds. Znaków Towarowych i Patentów Stanów Zjednoczonych (USPTO) przyznał gigantowi patent na zupełnie inny pomysł związany z iPhone’ami. A w zasadzie, z iPhone’ami i iPadami, bo jest to rozwiązanie, które mogłoby zostać zastosowane w obu typach urządzeń producenta. O co dokładnie chodzi?

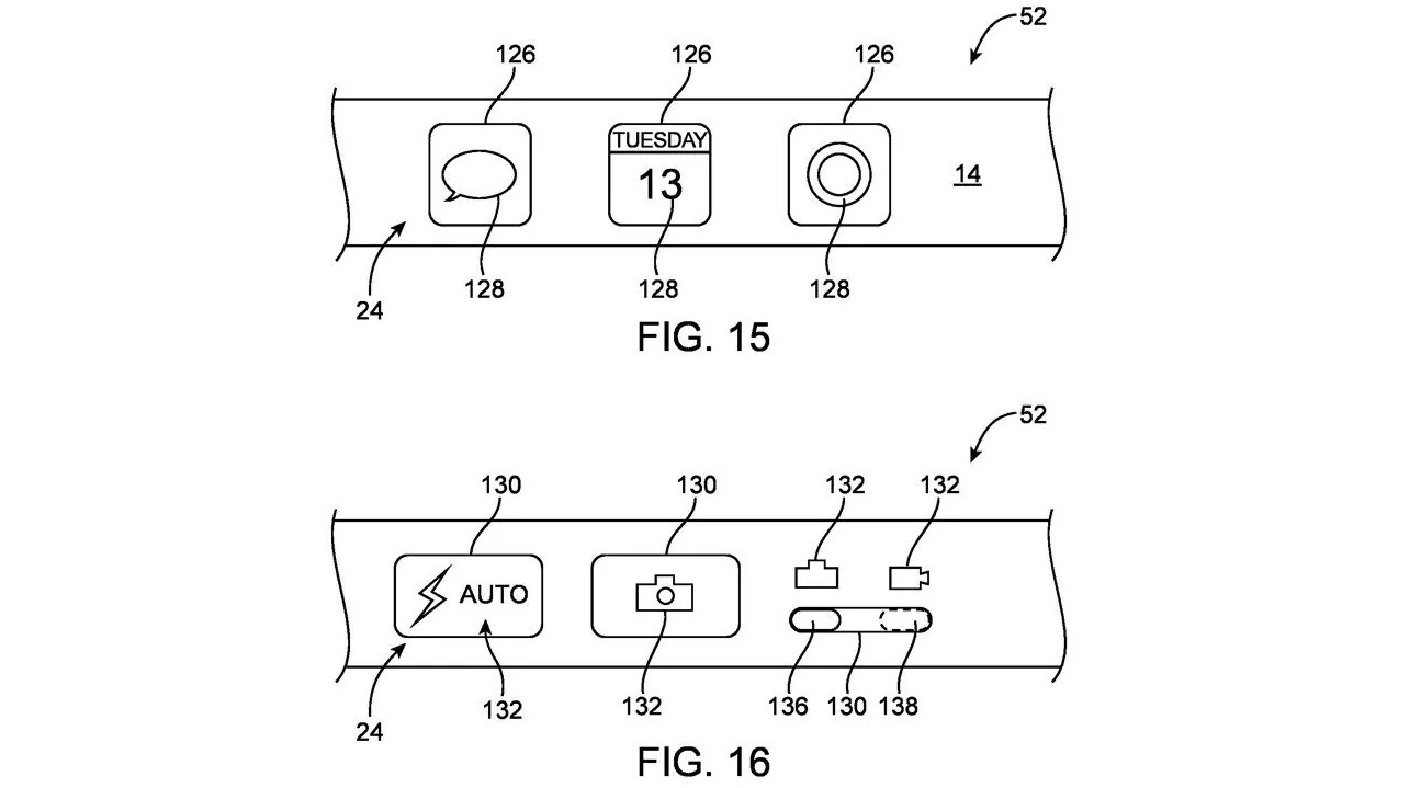
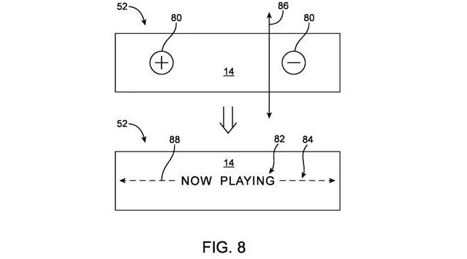
Z dokumentacji patentowej dowiadujemy się, że Apple wpadł na pomysł wyposażenia swoich sprzętów w boczny, dotykowy pasek umieszczony w jednej z ramek. Trochę przypomina to TouchBar, stosowany kiedyś w MacBookach Pro, ale zapewne z szerszym zakresem funkcjonalności. Taki boczny wyświetlacz miałby służyć wielu celom. Przede wszystkim wyświetlałby przyciski sterujące i interfejs użytkownika, a ponadto dawałby podgląd takich informacji, jak żywotność baterii czy pogoda oraz np. możliwość sterowania muzyką.

Wśród jednych z przykładów zastosowania Apple podał właśnie wariant z odtwarzaczem, gdzie na tym bocznym ekranie, wyświetlony byłby interfejs odtwarzacza, wraz z tytułami utworów i elementami sterującymi. Coś jak ekran odtwarzaczach MP3. Oczywiście zakres zastosowań takiego dodatku byłby naprawdę szeroki, bo zamiast zastępować fizyczne przyciski wirtualnymi, w tym przypadku taki ekran można byłoby konfigurować do woli i zapewne trudno byłoby znaleźć dwa iPhone’y z identycznie dostosowanym panelem bocznym.

Tylko że w praktyce takie rozwiązanie mogłoby być bardziej uciążliwe niż przydatne. Wyobraźcie sobie, że nie możecie dobrze złapać telefonu, w obawie o przypadkowe dotknięcie tego panelu. Ponadto dochodzi jeszcze problem z trwałością. Jeśli taki pomysł zostałby wcielony w życie, obawa o upuszczenie smartfona byłaby jeszcze większa. Teraz, jeśli iPhone spadnie nam na bok, co najwyżej się porysuje lub pojawi się jakieś wgniecenie, natomiast w tym przypadku mielibyśmy stłuczony ekran, którego wymiana z pewnością nie należałaby do najtańszych. Moim zdaniem dużo bardziej funkcjonalny byłby dodatkowy panel umieszczony na pleckach, jeśli już Apple chciałby bawić się w umieszczanie na pokładzie iPhone’a dodatkowego wyświetlacza.
Czytaj też: iPhone SE 4 w końcu nie będzie wyglądał jak odległy przodek nowoczesnych iPhone’ów
Są to jednak kwestie, którymi będziemy się raczej przejmować w chwili, gdy Apple zdecyduje się wcielić pomysł w życie. Czy tak się stanie? Raczej w to wątpię, choć istnieje taka możliwość. Jak dobrze wiemy, gigant z Cupertino nadal nie wypuścił żadnego składaka i prawdopodobnie nie zrobi to w ciągu kolejnego roku. Taki dodatkowy ekran mógłby być przejściową innowacją, pokazującą klientom, że Apple nieustannie stara się rewolucjonizować rynek smartfonów i robi to po swojemu, a nie idzie wytyczonym przez konkurencję szlakiem.
