Microsoft mocno zaangażował się w rozwój sztucznej inteligencji, toteż można podejrzewać, że jego doświadczenia na tym polu znajdą zastosowanie w planowanym akcesorium. A co wiemy na podstawie dokumentów patentowych, jakie znalazły się w internecie?
Microsoft i okulary – jakie i dla kogo?
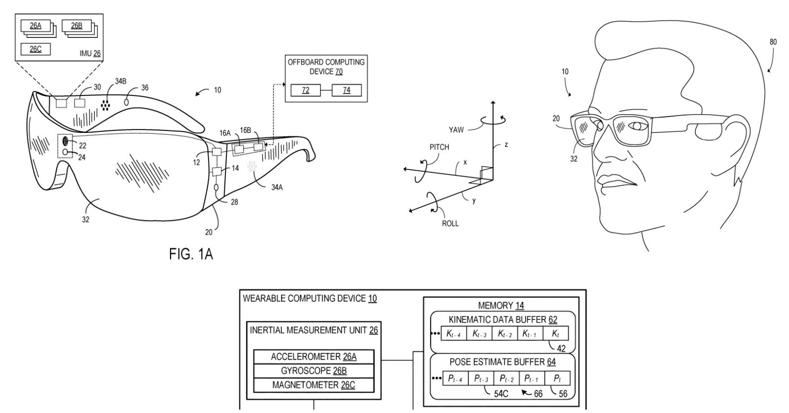
Informacje zostały opublikowane przez USPTO – United States Patent and Trademark Office, czyli amerykański urząd patentowy. Wynika z nich, że przeciwieństwie do HoloLens, które są urządzeniem holograficznym, te inteligentne okulary są skierowane bardziej do przeciętnego konsumenta. Zgodnie ze zgłoszeniem patentowym, będą korzystać z pewnej wersji Microsoft Windows w celu dokładnego śledzenia ruchu i pozycji nawet w zróżnicowanych środowiskach, które nie wydają się normalne. Jest to możliwe dzięki zastosowaniu inercyjnej jednostki pomiarowej (IMU) do gromadzenia danych kinematycznych.
Po zebraniu tych danych okulary wykorzystają modele uczenia maszynowego do oszacowania prędkości bieżącej i przeszłej. Liczby te pomagają określić położenie obiektów w pobliżu. Chodzi o to, aby obliczyć dokładne szacunki aktualnej i wcześniejszej pozycji, które następnie łączy się w złożone oszacowanie pozycji przyszłej. Microsoft wyjaśnia w patencie, że czynniki te mogą pomóc inteligentnym okularom położenie użytkownika i obiektów wokół niego, czyli niejako “zmapować teren”. W ten sposób stają się niezależne od GPS i danych wizualnych. Ma to także zwiększać niezawodność nawet w sytuacjach, gdy światło jest ograniczone lub w pobliżu znajduje się zbyt wiele obiektów.

Czytaj też: Microsoft podaje, ile maszyn objęła awaria CrowdStrike. Czy ta liczba zaskakuje?
Drugi patent zapewnia nowy system kamer, który poprawia rozdzielczość obrazu za pomocą lampy do oświetlenia, układu soczewek i silnika obrazu. Układ soczewek umieszczony nad układem czujników obrazu skupia światło obiektu na czujniku. W rezultacie kamera wbudowana w inteligentne okulary może rejestrować i generować obrazy o wysokiej rozdzielczości.
Microsoft rozważa także wprowadzenie urządzenia z baterią umieszczoną w odłączanej słuchawce, co zapewniłoby dłuższą trwałość okularów. Ale póki co wszystko jest w fazie projektowania, więc wszystko może jeszcze się zmienić. A jeśli chodzi o cenę, tutaj jeszcze zdecydowanie za wcześnie, aby można było cokolwiek powiedzieć na ten temat.


