AMD obiecuje wyższą wydajność i większą sprawność energetyczną, niż najlepszy procesor Intel Atom.
Samsung zaprezentował smartfon Galaxy S4 mini, będący kompaktową wersją Galaxy S4, najlepiej sprzedającego się smartfonu tej firmy. Galaxy S4 mini oferować ma imponującą wydajność, intuicyjną obsługę i ciekawe wzornictwo w formie niewielkiego urządzenia.
Nie każdy zna tę fascynującą funkcjonalność, jaką Google dodało do swoich map. Nie ma wprawdzie bezpośredniego znaczenia praktycznego, za to historycy, socjologowie, ale również zwykli ludzie będą używać jej z ogromnym zainteresowaniem.
Wyszukiwarkowy gigant coraz śmielej wchodzi na rynek amerykańskich dostawców Internetu. W wybranych miastach w Stanach Zjednoczonych oferuje superszybki dostęp do Sieci za względnie niewielkie pieniądze. Analitycy zaczynają kręcić nosem.
Słyszeliśmy już o niesamowitych przykładach wykorzystania komputerka Raspberry Pi. Do sprzedaży wchodzi właśnie moduł aparatu cyfrowego dla tego urządzenia. Dave Akerman pokazał, jak można go wykorzystać.
Jak udało się ustalić redakcji portalu VentureBeat, Blizzard zdecydował się na całkowite przeprojektowanie swojego MMO, które podobno powstaje już kilka lat i podobno nazywa się “Project Titan”.
Od 29 maja czytnik Chip & PIN jest już dostępny w Apple Store. Wychodząc naprzeciw oczekiwaniom klientów Payleven dodatkowo obniża prowizję dla wszystkich nowych i obecnych posiadaczy czytnika.
Testowe wydanie Opery zostało wyposażone w zupełnie nowy silnik. Jest nim WebKit/V8, czyli ten sam zestaw, który znajduje się w Google Chrome.
Nie milkną kontrowersje wokół nowej konsoli Microsoftu. Tym razem coraz więcej instytucji w różnych krajach zgłasza zaniepokojenie nową wersją Kinecta, znacznie mocniej zintegrowanego z całym urządzeniem niż miało to miejsce w Xboksie 360.
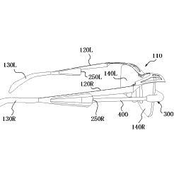
Znak zapytania w tytule jest ze wszech miar uzasadniony, bowiem jak na razie chodzi wyłącznie o… patent. Ale ciekawy patent.
Australijczyk, który był w ostatnim czasie źródłem wielu wycieków na temat nowej konsoli Microsoftu i który próbował także sprzedać na eBay’u developerską wersję Xbox One dobrze przygotował się na wypadek aresztowania…
Typowy wygląd słuchawek dla graczy? Wielkie nauszniki, efektowny wygląd pełen błyskotek. SteelSeries ma również w swojej ofercie i takie modele, ale tym razem postanowił spróbować czegoś innego.