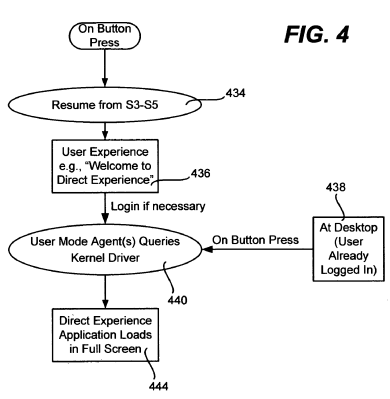
O Windows 8 wiemy wciąż niewiele, ale niedawno wykryty wniosek patentowy ujawnia technologię, która najprawdopodobniej zagości w następcy “siódemki” i ułatwi nam oglądanie filmów DVD.
Microsoft zaprezentował niewielkiej grupie dziennikarzy możliwości, jakie daje integracja usługi Xbox LIVE z systemem Windows Phone 7. Jak się okazuje, już w momencie premiery dostępnych będzie 50 mobilnych gier.
Dokładnie 16 sierpnia 1995 roku światło dzienne ujrzała pierwsza wersja przeglądarki internetowej Microsoftu. Gdzie był kiedyś Internet Explorer, a gdzie jest dziś?
Usługa Chrome to Phone obejmuje dodatek do przeglądarki Chrome oraz aplikację dla systemu Android, które umożliwią błyskawiczne przesłanie treści z komputera na telefon.
Po trzeciej wersji beta Firefoxa i nowej Opery 10.61, nadszedł czas na ruch Microsoftu. Wersja testowa Internet Explorera 9 zbliża się wielkimi krokami.
Podczas odbywającej się w Bostonie konferencji LinuxCon, Novell poinformował, że Amazon Web Services (AWS) oferować będzie możliwość korzystania z SUSE Linux Enterprise Server na zasadach opłaty godzinowej.
Nowe wersje mniej popularnych przeglądarek atakują liderów: Firefoksa i IE. W artykule pokazujemy, dlaczego przesiadka się opłaca.
Według analityków, system operacyjny Google Android już w 2012 roku ma kontrolować większą część rynku, niż iPhone wraz z systemem iOS.
Adidas wkracza w świat technologii mobilnych. Koncern wypuścił właśnie aplikację na telefon komórkowy, dzięki której użytkownik będzie mógł skorzystać ze specjalistycznego systemu treningowego.
Dyrektor generalny Google’a, Eric Schmidt, oznajmił dzisiaj, że system Android jest aktywowany ponad 200 000 razy dziennie. To kolejny rekord systemu.
Ubuntu 10.10 Netbook Edition według pierwotnego zamysłu miał wykorzystywać przeglądarkę Chromium jako domyślną. Plany się zmieniły i Firefox wraca do łask.
Windows 7 nazywany jest wielkim sukcesem Microsoftu, ale po klęsce Visty jest to z pewnością pojęcie względne. Pewnym jest, że sprzedał się znakomicie na rynku konsumenckim. A co z przedsiębiorstwami?