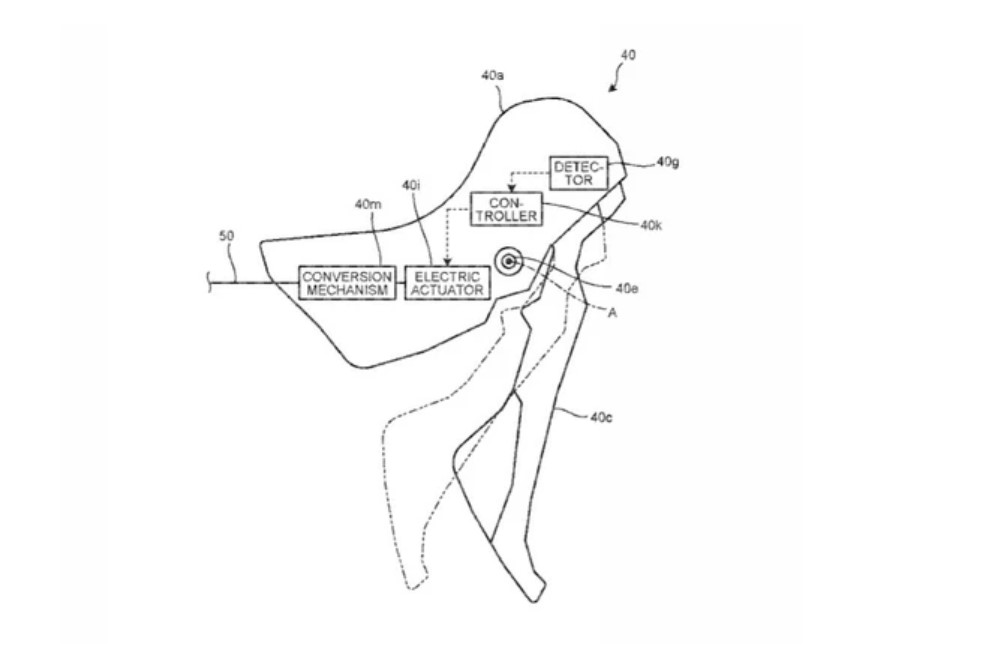
Amerykański patent Shimano z 18 maja bieżącego roku, którego doszukał się serwis Wheelbased, dotyczy elektronicznego układu hamulcowego do rowerów lub innych „małych pojazdów”. Zastrzeżony przez firmę system wykorzystuje elektronikę do identyfikacji, kiedy kierowca używa hamulców (naciska dźwignię hamulca), a na ten sygnał reaguje silnik, który wpycha płyn hydrauliczny do zacisków hamulcowych.
Czytaj też: Ogniwa aluminiowo-jonowe przewyższają te powszechne pod każdym względem

Innymi słowy, Shimano położyło podwaliny pod swoje hydrauliczne (oraz te zwyczajne, mechaniczne) elektroniczne hamulce rowerowe, które uwalniają obecne systemy od fizycznego połączenia dźwigni hamulca z zaciskiem. Tradycyjnie bowiem to połączenie jest realizowane za pośrednictwem specjalnego pancerzyka hydraulicznego, w którym zamiast linki (jak w hamulcach tarczowych) znajduje się manipulowany tłoczkami olej.
Czytaj też: Cowboy 4, czyli nowa generacja miejskich rowerów elektrycznych z Belgii
Elektroniczne hamulce rowerowe Shimano mogą finalnie zastąpić to połączenie prostym przewodem elektrycznym, ale oczywiście nie wszystko jest takie proste. Na system składałaby się cała masa elektroniki z wieloma czujnikami, odbiornikami oraz podsystemami w formie sterowników. Sygnał elektryczny trafiałby do sterownika, który z kolei wysyłałby sygnał do elektrycznego siłownika hamulca przy kole, gwarantując nam możliwość nie tego bezpośredniego, a pośredniego manipulowania zaciskami hamulców.
Elektroniczne hamulce rowerowe Shimano. Czy to ma sens?
Patent Shimano wspomina, że cały system byłby zasilany z akumulatora zamontowanego w rowerze lub dynamo, co sugeruje potencjalną integrację tego typu elektronicznych hamulców głównie z elektrycznymi rowerami. To umożliwiłoby firmie opracowanie mniejszych zespołów hamulcowych, schowanie ich w ramie i obniżenie ich wagi, choć na ten moment trudno spekulować o tym, co Shimano mogłoby osiągnąć z takim produktem.
Czytaj też: Pierwszy elektryczny rower Lyft. Firma stworzyła go po 3 latach na rynku
Pozostaje też pytanie, jak ludzie przyjęliby tego typu nowość, bo w sieci na temat tych elektronicznych hamulców rowerowych wielu kręci już nosem, narzekając na brak pewności, czy potencjalne awarie. Finalnie Shimano musiałoby więc nie tylko zaoferować w tej kwestii “coś więcej”, ale też zadbać o to, że wszystkie zalety obecnych hamulców na czele z “feelingiem” naciskania zacisków zostałyby odpowiednio przeniesione na te nowoczesne rozwiązania.



