Czy to koniec tradycyjnych silników? Ferrari szokuje branżę nowym patentem na silnik spalinowy
Jeśli wierzyć trendom, znane naszemu światu spalinowe silniki prędzej czy później zostaną wypchnięte przez te elektryczne. Jeśli nie przez drzemiący w nich potencjał, to odgórne prawne ograniczenia, które poddadzą w wątpliwość posiadanie “tradycyjnego samochodu”. No, przynajmniej jeśli idzie o powszechny użytek, bo patrząc na to, jak marki premium są traktowane już teraz (pobłażliwie z racji produkowania mniejszej liczby samochodów), nawet za kilka dekad spalinowe modele będą utrzymywane przy życiu i Ferrari będzie zapewne o to walczyć, idąc w ślady m.in. Hondy, która stworzyła podobny projekt w 1992 roku, wprowadzając do sprzedaży motocykl NR750. Właśnie dostaliśmy tego potwierdzenie.
Czytaj też: Czy 250-watowe ograniczenie silników rowerowych to głupota? Sprawdzili mocniejsze elektryczne rowery

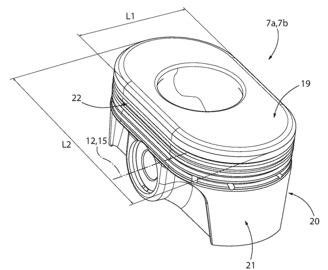
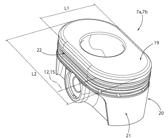
Ferrari przedstawiło światu przełomową innowację w konstrukcji silników, opatentowując silnik V12 wyposażony w tłoki owalnego kształtu. To radykalne odejście od tradycyjnych cylindrycznych tłoków nie jest przypadkiem, bo ma na celu zwiększenie osiągów, poprawę efektywności oraz zmniejszenie rozmiaru silnika, wpisując się w filozofię marki, która łączy najwyższą wydajność z koniecznością spełniania współczesnych norm regulacyjnych. Takie wydłużenie tłoku w jednym wymiarze ma pozwalać na bardziej zwartą konfigurację cylindrów, a to z kolei skutkuje skróceniem długości całego silnika bez konieczności zmniejszania jego pojemności czy mocy. Dzięki ustawieniu dłuższej osi tłoka prostopadle do wału korbowego inżynierowie Ferrari mogli zmniejszyć odstępy między cylindrami, a to akurat prowadzi do kompaktowej i potencjalnie lżejszej konstrukcji bloku silnika.


Co ciekawe, sama koncepcja owalnych tłoków nie jest całkowicie nowa. W latach 70. i 80. XX wieku Honda opracowała motocykle wyścigowe NR500 oraz drogowy NR750, które wykorzystywały tę technologię. Celem Hondy było osiągnięcie korzyści typowych dla silnika V8 w konfiguracji V4 poprzez zastosowanie ośmiu zaworów na cylinder, co poprawiało mieszankę paliwowo-powietrzną i zwiększało moc. Mimo takiego innowacyjnego podejścia zbyt duża złożoność i koszty produkcji ograniczyły sukces komercyjny tej technologii… ale przecież czas leci, a technologia napędzana koniecznością idzie do przodu, więc są szanse, że tym razem Ferrari przekuje ten pomysł na rzeczywistość.
Czytaj też: Ten silnik nie powinien istnieć. Stworzyli 5000-konnego potwora i wprawili go w ruch

Patent dotyka jednak nie tylko samego kształtu cylindrów w V12, bo opisuje także unikalny układ korbowodów, w którym dwa przeciwległe tłoki współdzielą jedno łożysko wału korbowego. Takie rozwiązanie upraszcza mechanikę wewnętrzną jednostki napędowej, zmniejsza tarcie oraz zwiększa sprawność mechaniczną, a to akurat może przełożyć się na wyższą moc i lepszą ekonomię paliwową. Innymi słowy, taki nowy silnik Ferrari byłby nie tylko wydajniejszy oraz efektywny paliwowo, ale też bardziej kompaktowy i na dodatek płynnie działający. Jednak innowacyjne rozwiązanie niesie także wyzwania, a w tym skomplikowaną produkcję, wysokie koszty wdrożenia oraz konieczność zapewnienia długoterminowej niezawodności tego typu konstrukcji, co może być szczególnym wyzwaniem.
Czytaj też: Nie na wodór i nie na benzynę. Takiego silnika jeszcze na świecie nie było
W ogólnym rozrachunku eksploracja pomysłu na owalne tłoki przez Ferrari to odważny krok w kierunku utrzymania legendarnych silników V12 w czasach, gdy motoryzacja zmierza w stronę elektryfikacji i hybrydowych układów napędowych. Nowatorski projekt elementów poruszających się w cylindrach, które odpowiadają za sprężanie mieszanki paliwowo-tlenowej i “zbieranie” energii z jej mikrowybuchu, może rzeczywiście doprowadzić do stworzenia bardziej kompaktowych i wydajnych jednostek napędowych, a to akurat może ułatwić integrację komponentów hybrydowych oraz poprawić ogólną dynamikę pojazdów Ferrari.

