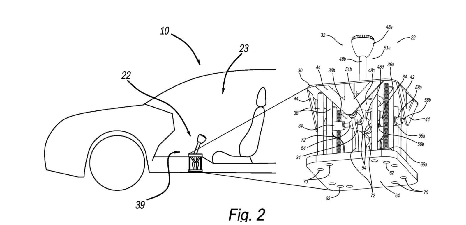
Śmiały ruch Forda, czyli manual w samochodzie elektrycznym
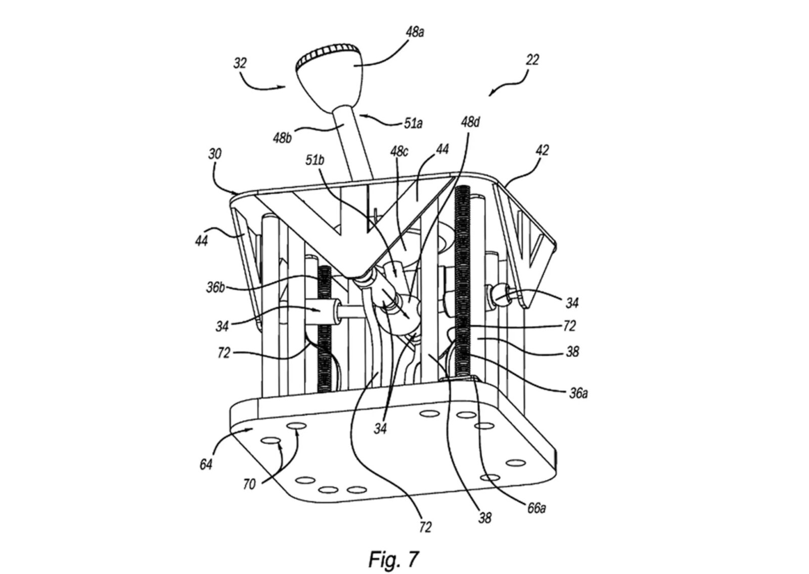
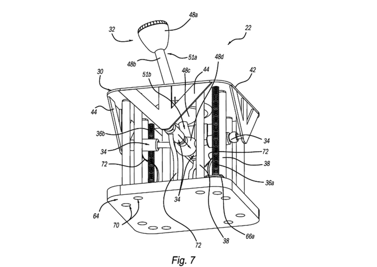
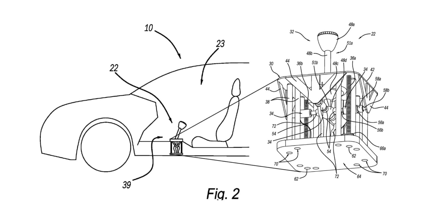
Elektryczne samochody są ciągle rozwijane, ulepszane i dopracowywane, aby oferować coraz więcej i więcej, jak na potencjalnie nowy standard na rynku przystało. Teraz jednak niespodziewanie Ford zaskoczył całą branżę, składając wniosek patentowy na manualną dźwignię zmiany biegów zaprojektowaną specjalnie dla elektrycznych pojazdów. Czy to żart, chwyt marketingowy, czy może decyzja, która podbije słupki sprzedażowe firmy? Sprawa na pewno jest poważna, bo patent zatytułowany “Zespół zmiany biegów dla pojazdu elektrycznego” został już oficjalnie opublikowany 20 marca 2025 roku pod numerem 2025/0092947 w Urzędzie Patentowym Stanów Zjednoczonych. Dlatego zresztą wiemy, jak dokładnie Ford chce do tego podejść.
Czytaj też: Szybkie ładowanie samochodów elektrycznych w mroźnych warunkach to już rzeczywistość

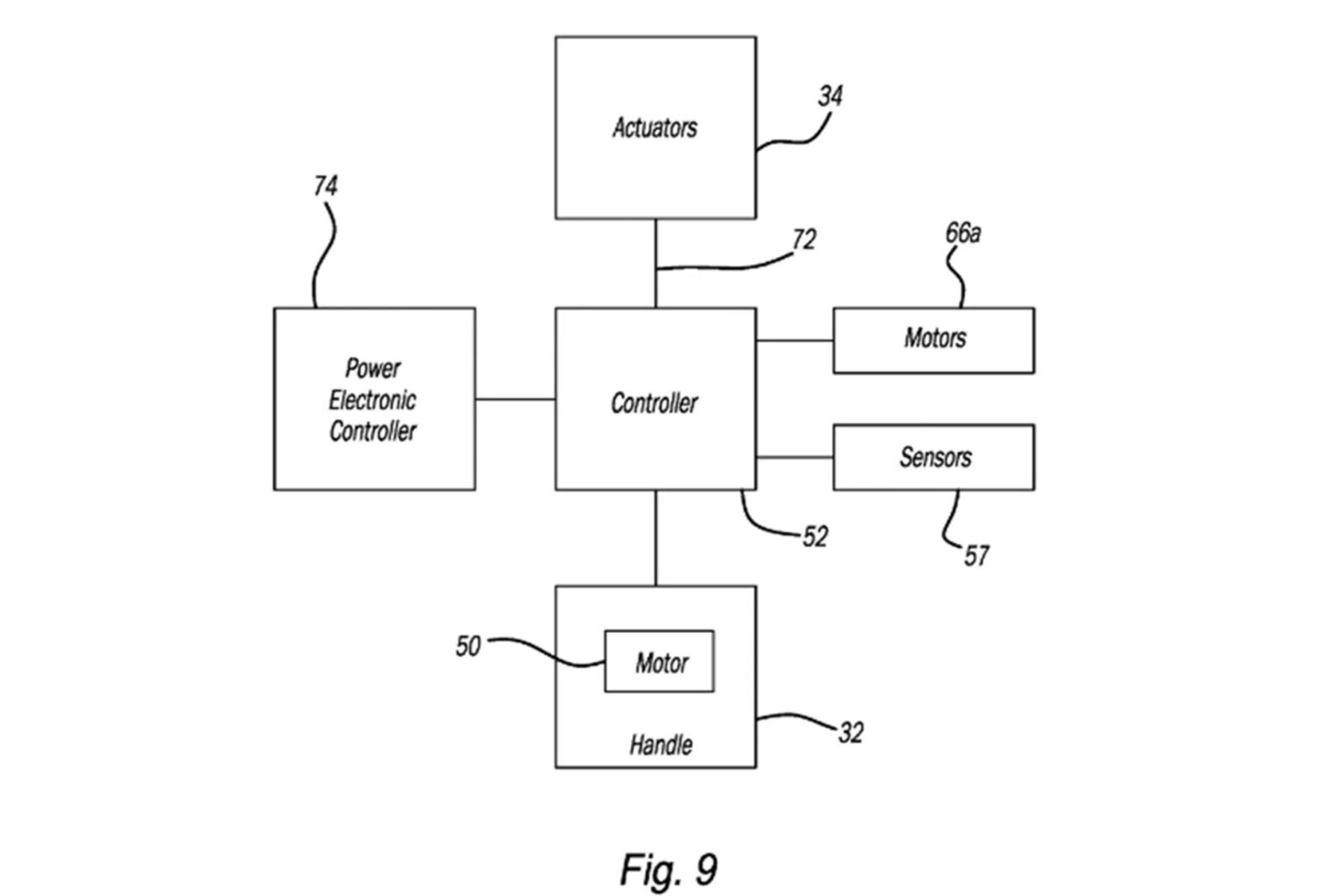
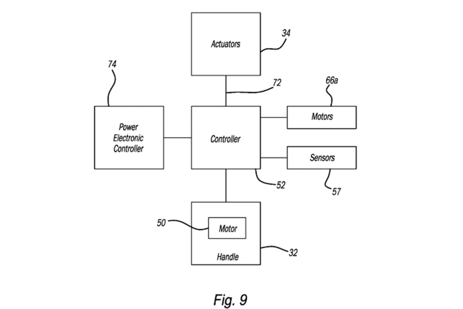
W odróżnieniu od tradycyjnych dźwigni biegów, które są mechanicznie połączone ze skrzynią, pomysł Forda jest zrealizowany w pełni elektronicznie, a jego celem jest “odwzorowanie dotykowych wrażeń związanych ze zmianą biegów w samochodach spalinowych”. Nie jest to więc “udawany dyngs” w środkowym tunelu, bo system wykorzystuje siłowniki do tworzenia wirtualnej ścieżki, która przekłada się na różne układy zmiany biegów, bo np. tryb sekwencyjny góra/dół lub klasyczny układ sześciobiegowy w kształcie litery H. Co ciekawe, konfigurację tę można dynamicznie zmieniać za pomocą oprogramowania i to bez konieczności modyfikacji fizycznych komponentów, więc daje to ogromną elastyczność i potencjalnie ciekawe projekty.
Czytaj też: Ta maszyna nie powinna istnieć. Wzięli 180-konny motocykl i go turbodoładowali


Warto jednak zastanowić się, czy tego typu dodatek jest w ogóle potrzebny i oczywiście… nie, nie jest. Samochody elektryczne słyną z natychmiastowego momentu obrotowego i płynnego przyspieszenia, co eliminuje potrzebę stosowania wielobiegowych skrzyń. Jednak ta fenomenalna dynamika może być dla niektórych kierowców mało ekscytująca i dlatego poprzez wprowadzenie symulowanej dźwigni zmiany biegów Ford chce przywrócić emocje związane z klasycznym prowadzeniem samochodu. Co ciekawe, firma nie jest osamotniona w tych działaniach, bo Toyota pracuje nad własnym systemem symulowanej manualnej skrzyni biegów dla EV, który ma nawet pedał sprzęgła i jego debiut może mieć miejsce już w 2026 roku. Hyundai z kolei zastosował technologię N e-Shift w modelu Ioniq 5 N, która imituje ośmiobiegową przekładnię DCT wraz z dźwiękami zmiany biegów, zwiększając tym samym wrażenia z jazdy.


Czytaj też: Polak nie płakał, jak kupował. ATTO 2 oferuje fajne bajery i porządny napęd w niskiej cenie
Patrząc na to, że liczba kierowców przyzwyczajona do manualnych skrzyń biegów ciągle maleje, Ford wraz z innymi firmami najpewniej będą podchodzić do takiego wyposażenia elektrycznych samochodów w specyficzny sposób. Będą albo oferować opcję “udawanego manuala”, albo ograniczać jego obecność do specyficznych, czyli najpewniej sportowych modeli nastawionych na wysokie osiągi. W ogólnym rozrachunku nie jest to bowiem idealny dodatek, bo choć taka symulowana manualna skrzynia ma na celu zwiększenie zaangażowania kierowcy, to może również wprowadzać dodatkowe komplikacje dla producenta i klienta. Systemy tego typu mogą bowiem podnieść koszty produkcji i potencjalnie zwiększyć awaryjność, a w rzeczywistości wcale nie muszą zagwarantować wiernego oddania uczucia jazdy.

