Motocykl od zawsze był symbolem wolności i pełnej odpowiedzialności za własne decyzje. Kierowca i maszyna tworzą układ zamknięty, w którym wszystko opiera się na zaufaniu do własnych umiejętności, wyczuciu przyczepności i refleksie. W świecie samochodów rolę cichego anioła stróża pełnią dziś dziesiątki systemów asystujących, ale na dwóch kołach królowała dotąd surowa, niemal analogowa jazda, w której pomyłka może kosztować znacznie więcej niż stłuczony zderzak.

Wyobraź więc sobie sytuację, w której twój motocykl samodzielnie pomaga ci uniknąć wypadku. Zbyt abstrakcyjne, aby mogło być prawdziwe? Tak się składa, że japoński gigant zdaje się poważnie traktować taką wizję, więc może ją ziścić szybciej, niż sugeruje rozsądek.
Motocykl przejmie kontrolę, kiedy zrobi się za gorąco. Czy to nie przesada?
Honda złożyła w Światowej Organizacji Własności Intelektualnej wniosek patentowy dotyczący zaawansowanego systemu mającego aktywnie wspierać kierowcę w krytycznych sytuacjach. Pomysł polega na stworzeniu technologicznego współpasażera, który nie tylko ostrzega, ale i fizycznie pomaga w wykonaniu manewru. To podejście budzi jednak mieszane uczucia w środowisku miłośników motocykli, gdzie bezpośrednia kontrola nad maszyną jest świętością.
Czytaj też: Elektryczne samochody będą bezpieczniejsze. Zadba o to największe laboratorium świata

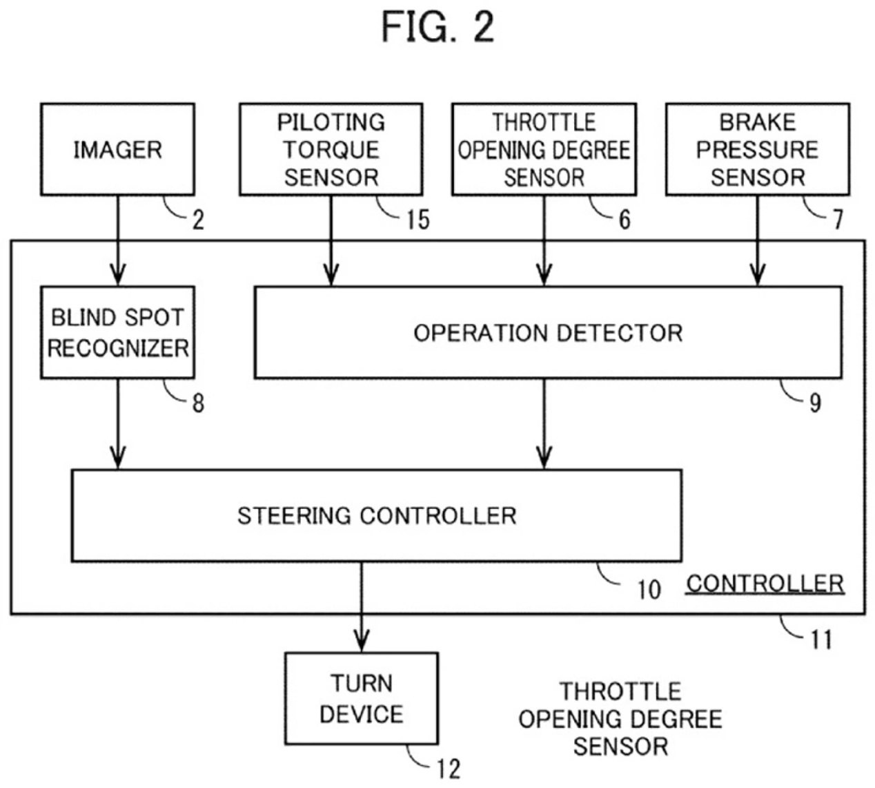
Zasada działania takiego rozwiązania nie może być prosta. System wykorzystuje bowiem kamery do monitorowania martwego pola oraz czujniki śledzące parametry jazdy, takie jak hamowanie czy przyspieszenie. Gdy algorytm wykryje niebezpieczeństwo, czyli na przykład auto wcinające się bez ostrzeżenia na jezdnię, rozpoczyna się sekwencja zdarzeń. Na początek kierowca słyszy lub widzi standardowy alert. Prawdziwa magia zaczyna się jednak w momencie, gdy motocyklista zareaguje. Wtedy system delikatnie wkracza do akcji, wspomagając go w hamowaniu, korekcie toru jazdy czy nawet operowaniu przepustnicą. Ma to być harmonijna współpraca, a nie przejmowanie sterów.

Kiedy jednak kierowca nie zareaguje w ogóle, to w takim przypadku oprogramowanie stopniowo zwiększa swój udział, przejmując częściową kontrolę nad kierowaniem. Honda zdaje sobie sprawę z ryzyka utraty stabilności przez nagły ruch kierownicy, dlatego interwencja ma być płynna i stopniowa. Mimo to sama idea automatycznej ingerencji w prowadzenie jednośladu wydaje się mocno niepokojąca. Motocykl to nie samochód, a jego fizyka opiera się na dynamicznej równowadze, którą utrzymuje człowiek poprzez ciągłe, subtelne ruchy ciała i przeciwwagę. Dochodzi do tego specyfika przeciwskrętu, czyli konieczność wykonania początkowego, często intuicyjnego ruchu w przeciwną stronę, niż chcemy skręcić. Czy algorytm jest w stanie w pełni odczytać intencje kierowcy i je wesprzeć, nie wprowadzając niepotrzebnego zamętu?

Równie istotna jest kwestia świadomości sytuacyjnej. Doświadczony motocyklista nieustannie analizuje drogę, odczytuje zachowanie innych kierowców i przewiduje zagrożenia na długo przed tym, jak system je wykryje. Czy zestaw kamer i czujników może kiedykolwiek dorównać ludzkiej intuicji i peryferyjnej uwadze? Jeśli nie, to jego nagłe, zaskakujące korekty mogą być bardziej szkodliwe niż pożyteczne, dezorientując kierowcę w kluczowej dla danej sytuacji chwili.
Motocykl korygujący decyzje motocyklisty to świętokradztwo?
Wedle analizy patentu w serwisie New Atlas największe kontrowersje budzi wpływ takiej technologii na esencję jazdy motocyklem. Dla wielu osób to właśnie poczucie wolności, pełnej odpowiedzialności i bezpośredniego połączenia z maszyną stanowi największą wartość. Gdy system zacznie regularnie korygować nasze decyzje, to czy takie uczucie po prostu samoczynnie nie wyparuje? Czy jazda na tak wspomaganym motocyklu będzie miała jeszcze ten sam charakter? Sama intencja jest słuszna, bo bezpieczeństwo zawsze powinno być priorytetem, a przecież statystyki wypadków z udziałem jednośladów są bezlitosne.
Czytaj też: Mechanik pokazał dwa silniki obok siebie. Ten widok przekona cię do częstszej wymiany oleju
Na razie to tylko koncepcja opatentowana na papierze, a droga od dokumentu w biurze patentowym do seryjnie produkowanego elementu wyposażenia bywa bardzo długa i usiana technologicznymi oraz prawnymi przeszkodami. Nawet jeśli Honda poradzi sobie ze wszystkimi wyzwaniami inżynieryjnymi, to pozostaje najważniejsze pytanie: czy motocykliści na pewno dadzą się do tego przekonać?

