Huawei P50 Pocket to już pewna premiera

W 2022 roku pokażemy w Europie nowy składany smartfon, mówił podczas premiery modelu nova 9 Derek Yun prezes Huawei Europy Środkowo-Wschodniej, Skandynawii i Kanady. O ile Omicron pozwoli, wydarzenie powinno mieć miejsce podczas targów Mobile World Congress w Barcelonie.
Sam P50 Pro Pocket miał już swoją premierę w Chinach. Więcej przeczytacie o nim w tej wiadomości. Ciężko krytykować Huaweia za zrobienie smartfonu wzorowanego na Galaxy Z Flip3 Samsunga. Konstrukcja sprawdzona, z miejscami na usprawnienia (akumulator, przegrzewanie się, szybsze ładowanie, aparat) i mam nadzieję, że już za dwa miesiące będziemy mogli sprawdzić, jak to wypadło w praktyce. Ale nie tylko Huawei chce mieć w swojej ofercie klapkę.
Honor Magic V jako odpowiednik P50 Pocket?
Swoją wersję smartfonu z klapką zapowiedział też Honor. Na temat Honor Magic V wiemy niewiele, poza tym, że ma wyróżnia się ekranem bez widocznego miejsca zgięcia. Zupełnie jak pokazany niedawno Oppo Find N. Póki co to jednak wszystko, co Honor ujawnił na jego temat.
Xiaomi też chce mieć swojego Flipa
Xiaomi ma już w swojej ofercie składany smartfon – Mi Mix Fold. Wzorowany na serii Galaxy Z Fold. Ale Xiaomi też chce mieć swoją składaną klapkę. Firma nawet opatentowała jego wygląd, co potwierdzają dokumenty widoczne w CNIPA (Chinese National Intellectual Property Association).

Jeśli przełożymy szkice patentowe na gotowy smartfon, czek nas jeden z cieńszych składanych smartfonów. Zewnętrzny ekran będzie niewielki, jak w pierwszej generacji Galaxy Z Flipa. We wcięciu w aparacie do selfie zmieszczą się dodatkowe czujniki, z kolei aparat główny będzie lekko wystawać ponad powierzchnię obudowy. Co dodatkowo sugeruje, że obudowa może być wyjątkowo cienka.
Składane smartfony… jeszcze bardziej składane. Samsung chce je składać z trzech części i ma na to papiery
A dokładnie patenty. Niezwodny w wyszukiwaniu wniosków serwis LetsGoDigital wypatrzył dokumenty smartfonu, który roboczo ochrzcił mianem Galaxy Tri-Fold. Więcej o tym przeczytacie w naszej wiadomości.
Warto zaznaczyć, że plotki na temat takiego urządzenia pojawiają się od bardzo dawna. Już rok temu miał zadebiutować jako Galaxy Z, gdzie Z miało symbolizować obudowę składającą się z trzech części. W maju 2021 roku Samsung już pokazał nam takie urządzenie. Na oficjalnym filmie promocyjnym, pokazującym nowe rozwiązania, które pojawią się w ekranach OLED. Było tam m.in. takie urządzenie:

Nie jest to komputerowo wyrenderowana obudowa, bo Samsung pokazał taki ekran podczas targów iMiD 2021 na początku września. Wyglądało tak:

Mam duże przeczucie, że tak futurystyczny składany smartfon może zostać pokazany już w przyszłym roku.
W dwóch miejscach chce się składać Microsoft. Zamiast Surface Duo… Surface Trio?

Microsoft Surface Duo to bardzo ciekawa konstrukcja. Może nie do końca udana, której nie udało się zaistnieć na rynku, ale od samego początku jestem jej wielkim fanem. Być może kolejna generacja smartfonu będzie jeszcze bardziej futurystyczna.
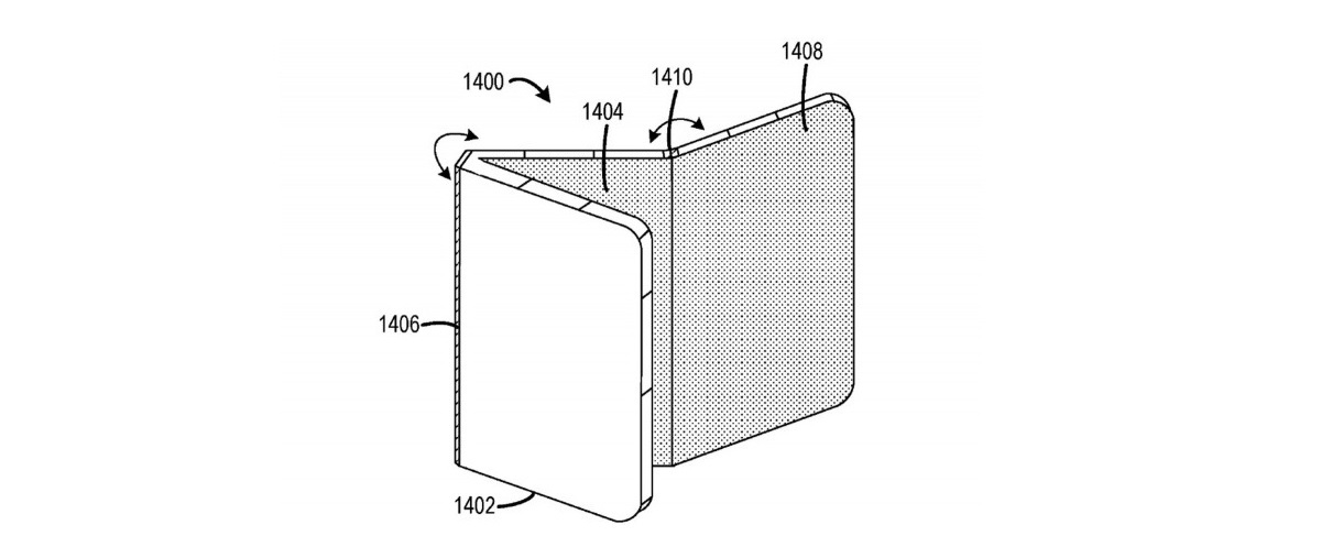
Microsoft to kolejna firma, która ma patent na składany smartfon i chodzi o urządzenie składane w dwóch miejscach.

Niestety taka skromna grafika to jedyne co wiemy na jego temat. Możemy z niej wnioskować, że będzie to konstrukcja znana z Surface Duo, ale z dołożoną jeszcze jedną częścią ekranu. Choć w przypadku Microsoftu bardziej niż na kombinowaniu z konstrukcją, firma powinna się bardziej skupić na dopracować i zwyczajnie wypromowaniu smartfonu na większej liczbie rynków. Ale kto wie, może z nowym modelem się to uda.

